أعلنت مايكروسوفت تسجيل براءة اختراع جديدة تبتكر طريقةً لتقليل حجم الذاكرة المطلوب في أثناء معالجة تقنية تتبع الأشعة (Ray Tracing) في البطاقات الرسومية.
وتستطيع تقنية مستوى التفاصيل (LOD)، المذكورة في ورقة براءة الاختراع، زيادة أو تقليل جودة تتبع الأشعة حسب الحاجة.
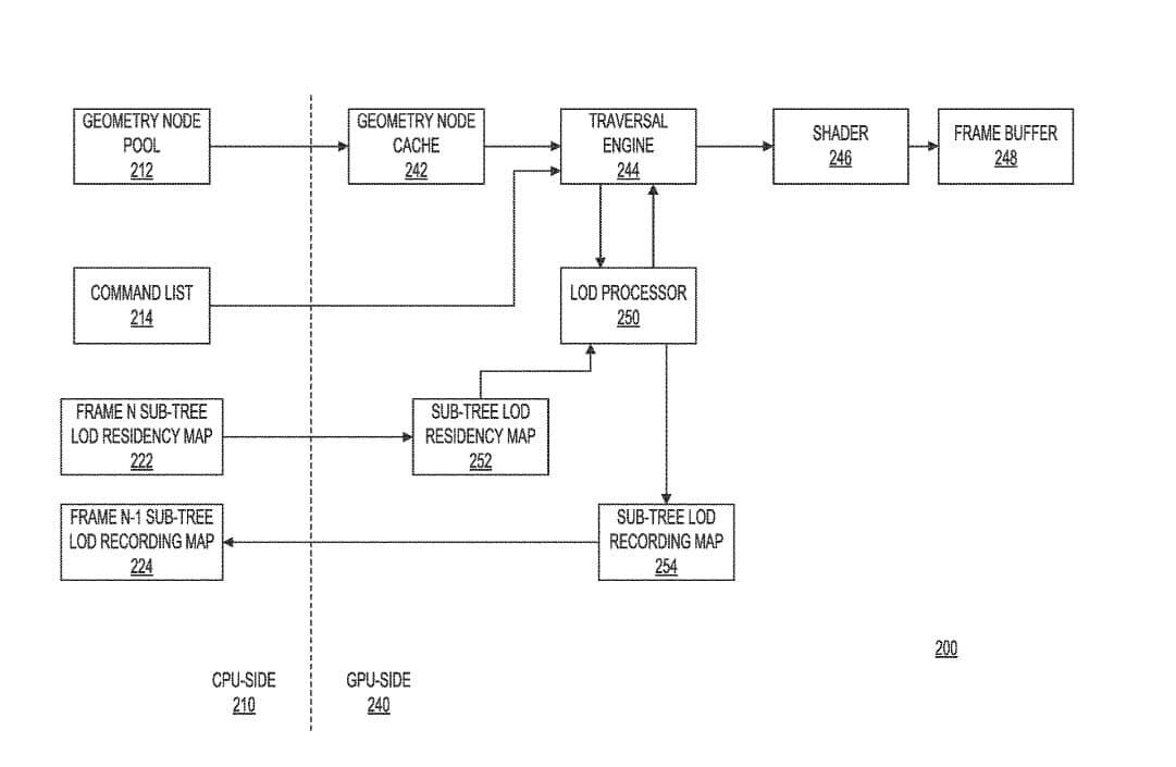
وتصف براءة الاختراع تصميم تتبع الأشعة بأنه بنية يمكن تحسينها باستخدام مستوى التفاصيل، ويمكن تحقيق ذلك بخريطة تتوافق مع التسلسل الهرمي لحجم حدود الكائنات ضمن بنية تتبع الأشعة. وبذلك، تصبح وحدة معالجة الرسوم قادرةً على استخدام هذه الخريطة لتحديد مستوى الجودة الذي تحتاج إليه في الوقت المناسب.
وبتعبير آخر، تقترح براءة اختراع مايكروسوفت فلسفة تصميم تستخدمها ألعاب الفيديو في البيئات الثلاثية الأبعاد، فمثلًا إذا كنت تلعب بألعاب من منظور الشخص الأول أو الثالث، فستعلم أنه عند مسافات معينة تنخفض جودة التضاريس كلما ابتعدت الشخصية عنها.

ومن الممكن أن يكون لهذه التقنية تأثيرات جيدة في توفير حجم استهلاك الذاكرة وتعزيز الأداء في المستقبل، وعلى ما يبدو، يفتقر تصميم تتبع الأشعة الحالي إلى مستوى التفاصيل؛ مما يجعل عرض المشاهد الرسومية مكلفًا من ناحية معدل استهلاك حجم الذاكرة للبطاقة الرسومية، وفي الوقت نفسه يضع عبئًا كبيرًا على وحدة معالجة الرسوم.
وتتجاوز تطبيقات تتبع الأشعة الحالية هذه المشكلة باستخدام تقنيات مثل: DLSS، و FSR، و XeSS لخفض العبء الكبير الذي يفرضه تتبع الأشعة على أداء البطاقة الرسومية.
ويتوقع أن تحقق هذه التقنية نتائج إيجابية في البطاقات الرسومية من إنفيديا التي تأتي بذاكرة بحجم قدره 6 جيجابايت أو 4 جيجابايت مثل البطاقة الرسومية RTX 3050 الداعمة لتقنية تتبع الأشعة. ويمكن أن تساعد تقنية (LOD) جهاز الترفيه المنزلي PlayStation 5 على تحقيق أداء أكثر قابلية للّعب.
نسخ الرابط تم نسخ الرابط
المصدر: البوابة العربية للأخبار التقنية
